
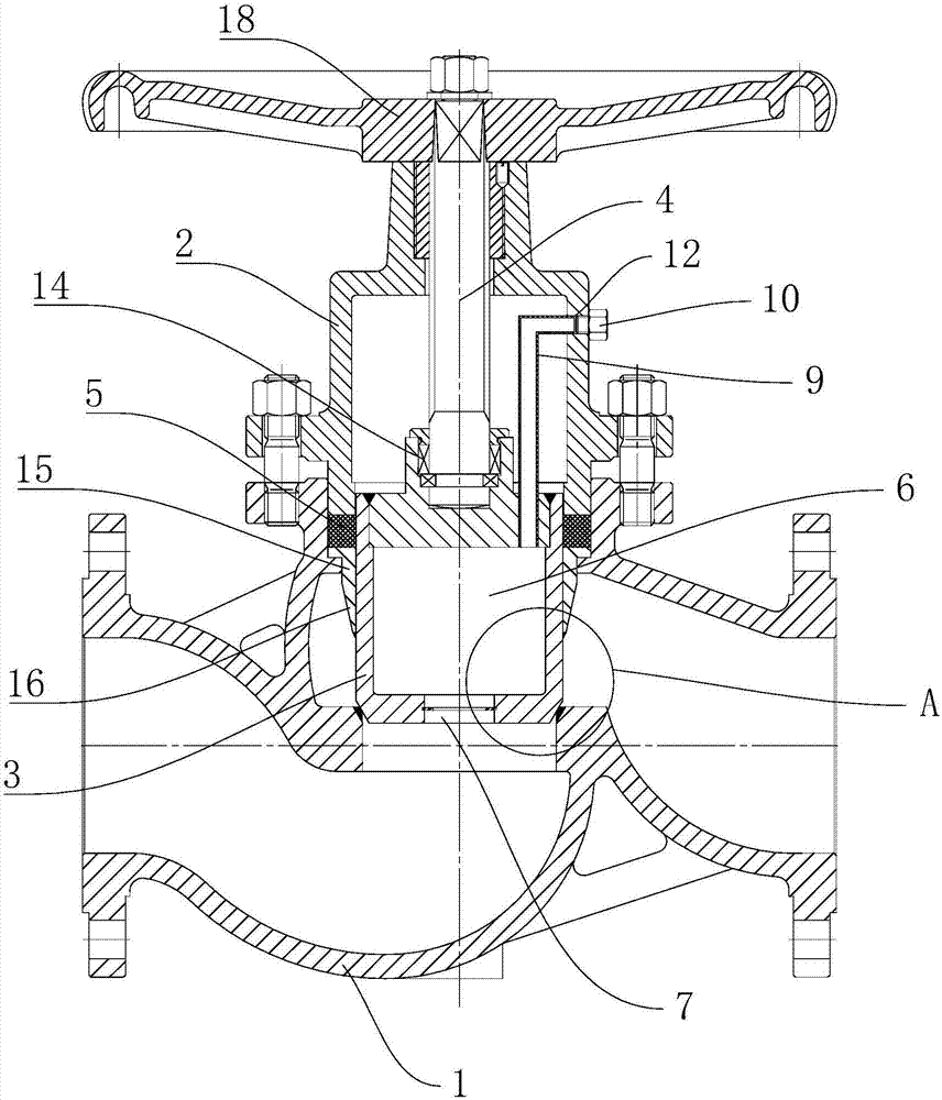
柱塞阀结构是由阀体、阀盖、阀杆、柱塞、孔架、密封环、手轮等部件组成。当手轮旋转,通过阀杆带动柱塞在孔架中间上下往复运动来完成阀门的开启与关闭功能。

柱塞阀中柱塞与密封环间采用过盈配合,通过调节压盖中法兰螺栓,使密封环压缩所产生的侧向力与阀体中孔面及柱塞外圆密封,从而保证了阀门的密封性。
柱塞阀开启力矩小,能实现阀门迅速开启和关闭。柱塞阀相比截止阀,寿命长,操作省力。但柱塞阀的调节行程比截止阀要长,所以节流控制比截止阀要难。
柱塞阀工作原理
阀门的关闭由一个不锈钢柱塞、上下两只富弹性密封圈及一个金属隔框组成,密封效果由柱塞与密封圈紧密配合来达到,柱塞插在两只密封圈中,密封面积远大于普通截止阀;开关柱塞阀时,柱塞在密封圈中缓慢移动,接触面几乎不磨损,关闭时,柱塞插入下密封圈,截断流道;开启时,柱塞虽然脱离下密封圈,但仍藏在上密封圈内,保持与外界隔离,不致发生泄漏。
柱塞阀分类
一、 螺纹连接或承插焊连接直通式柱塞阀
1、流道:直通式
2、阀体、阀盖为铸钢或铸钢件,柱塞、阀杆、隔离环为不锈钢。密封圈为柔性石墨或聚四氟乙烯
3、密封环、隔离环由阀体和阀盖连接螺栓、螺母、弹簧垫压紧
4、靠柱塞外径与密封环内经实现密封
5、该阀启闭速度较慢
二、对焊接连接直通式柱塞阀
1、流道:直通式
2、阀体、阀盖材料为铸钢
3、其他结构特点同序号
三、法兰连接直通式柱塞阀
1、流道:直通式
2、阀体、阀盖为铸钢或铸钢件,柱塞、阀杆、隔离环为不锈钢。密封圈为柔性石墨或聚四氟乙烯
3、密封环、隔离环由阀体和阀盖连接螺栓、螺母、弹簧垫压紧
4、靠柱塞外径与密封环内经实现密封
5、该阀启闭速度较慢
四、法兰连接压力平衡直通式柱塞阀
1、流道:直通式
2、阀体、阀盖为铸钢件:阀杆、柱塞、隔离环为不锈钢;密封环、填料为柔性石墨或聚四氟乙烯;阀杆螺母为铜合金
3、密封环、隔离环靠阀体和阀盖的连接螺栓、螺母及弹簧垫圈压紧
4、靠柱塞的外径与密封环内径实现密封
5、柱塞为空心,上下腔有通孔,阀杆用上密封套和螺母连接,使柱塞上下腔压力平衡,启闭时省力。不过阀杆要有上密封和填料密封
6、该阀启闭速度较慢
五、截止阀形柱塞阀
1、流道:直通式
2、阀体、阀盖、柱塞体为铸钢;阀杆、柱塞压环为不锈钢;密封环、填料为柔性石墨或聚四氟乙烯
3、阀体与柱塞密封环配合处镶有不锈钢衬套
4、密封环用柱塞压环压紧在柱塞体上
5、靠柱塞密封环的外径和阀体衬套的内径配合实现密封
6、阀体、阀盖用螺栓连接,密封用垫片
7、阀杆密封用填料和上密封,压紧填料就可以实现密封
8、阀杆传动用阀杆螺母,旋转手轮就可以启闭阀门
9、该种结构的柱塞阀比常规柱塞阀启闭速度快
六、法兰连接双阀座压力平衡直通式柱塞阀
1、流道:双口直通式
2、阀体、上阀盖、下阀盖均为铸钢件;阀杆,柱塞,隔离环为不锈钢;密封环,填料为柔性石墨或聚四氟乙烯
3、密封环、隔离环柱塞导向套用上、下阀盖,螺栓、螺母、弹簧垫圈压紧在阀体内
4、柱塞可在上下密封环和导向套内上下运动,导向套上设有压力平衡孔,介质压力可由小孔进入导向套下腔。靠柱塞的双密封面和阀体内的双密封环就可实现密封
5、该阀为双阀座密封柱塞阀,可通过较大流量,由于柱塞较短,启闭速度比常规的柱塞阀大些
6、阀杆密封采用上密封和填料,压紧填料压盖就可实现阀杆密封
7、阀杆螺母镶在商上阀盖上旋转手轮就可带动柱塞阀启闭
七 内螺纹连接直角式柱塞阀
流道:直角式
八、 法兰连接直角式柱塞阀
流道:直角式
九、法兰连接压力平衡直角式柱塞阀
流道:直角式
本文来源:http://www.bengfamen.com/zhusaifa/96.html,转载必须保留网址。







